一、所属领域
图像识别算法,图像处理算法,导航与控制算法,机器人控制,云服务,远程技术,应用于高端医疗器械(骨科手术)领域
二、项目介绍
1. 痛点问题
传统人工骨科手术有以下问题:手术时间长、手术精度差、病人损伤大等缺点,而现有国内骨科手术机器人,缺乏核心技术,产品成本高,手术时间更长于传统人工手术,病人术中辐射剂量大,无法满足日益增长的骨科手术需求。
2. 解决方案
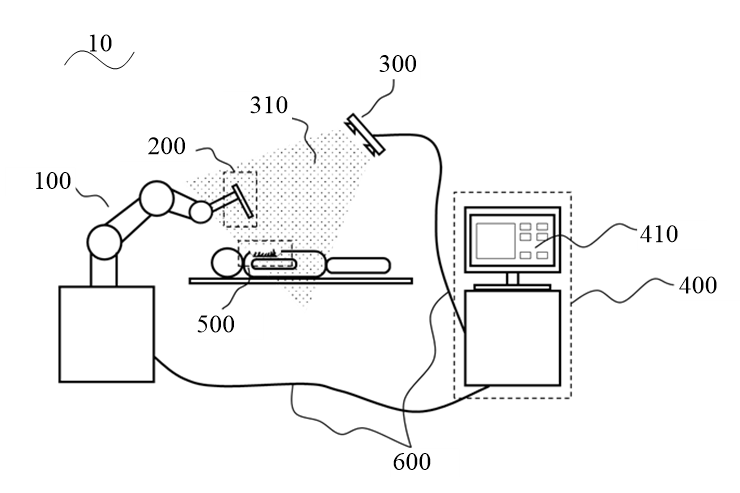
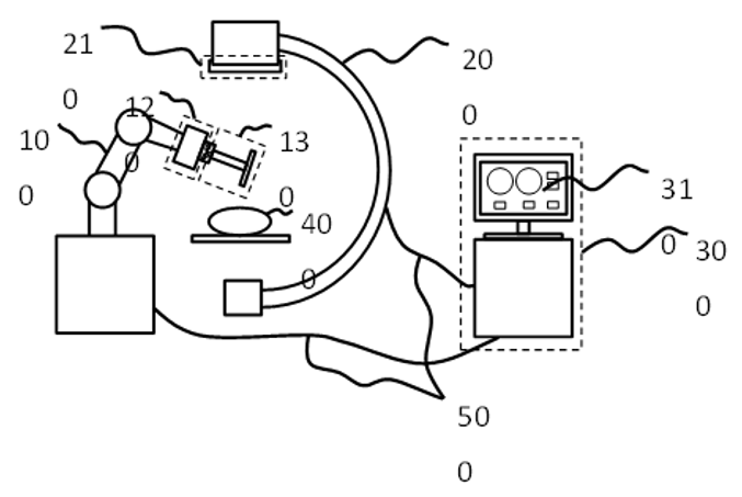
1)采用多种手术术式:
2)基于图像识别的导航与跟踪算法:
3)基于云服务的软件架构:
支持远程医疗,降低病人使用机器人产品费用;
降低产品开发、维护成本。
3. 竞争优势分析
1)全球首个采用多种术式的骨科手术机器人产品,攻克了高难度术式核心算法(全球第二只实现该算法商业化的团队):
术中时间较竞品缩短2小时;
病人术中可减少约200张X光辐射剂量;
手术精度更高
2)全球首个实现了基于图像识别的导航与跟踪算法,采用可见光相机代替了昂贵的光学导航设备,成本较竞品下降30%~50%,且病人术中损伤更小;
3)软件开发成本降低30%~50%。
4. 市场应用前景
该产品主要应用于骨科手术,2022年国内骨科手术市场500亿元,国内骨科手术机器人市场24亿元,预计到2026年,国内骨科手术机器人将达到100亿市场规模。
5. 发展规划
骨科产品有两个重要节点:
1) 计划于2022年11月份取得临床试验注册批件,完成医疗器械创新通道申请;
2) 计划于2024年3月份取得医疗器械产品注册证、生产许可证;
预计在取得医疗器械产品注册证后,2025年销售金额达4.5亿元。
6. 知识产权情况
已授权3项国内发明专利,1项美国发明专利。已公开4项国内发明专利,2项美国发明专利(审批中)。


置钉机器人系统及控制方法


基于可见光跟踪的置钉手术机器人系统

骨折复位机器人系统
三、合作需求
1)第一阶段融资1000万元:用于截止到2022年11月,公司组建、产品化及取得临床试验批件;
2)第二阶段融资5000万元:用于截止到2024年3月,团队扩张,取得医疗器械产品注册证,以及其他产品品类的研发与补充;
3)医疗器械注册领域CRO/CMO公司支持;
4)研发场地200平米;
5)可见光相机、机械臂合作伙伴。
四、团队介绍
郑钢铁,教授:研发总顾问,清华大学数字医疗与医用机器人研究中心主任。开展了骨科手术机器人、肿瘤治疗及神经外科机器人等多方面的研究工作。已经发表学术论文近200篇,授权发明专利三十余项;
潘勇卫,主任:清华大学临床医学院教授、博士生导师,清华大学附属北京清华长庚医院骨科副主任,创伤骨科中心主任。中华医学会手外科分会第六届全国青年委员会副主任委员,中国生命关怀协会远程医学专业委员会副主任委员,《Translational Neuroscience and Clinics》编委;
佘丰客,硕士:项目负责人,清华大学工程力学系本科、硕士,曾就职于西门子(中国)研究院,国际ACM MM图像识别大赛两项第一,深度学习算法发明专利六篇;
陈煜,博士:机器人核心导航算法/控制算法负责人,清华大学本科、博士,钱学森力学班前15%,国家奖学金,发表两篇SCI、一篇EI,八项骨科手术机器人领域发明专利,其中三篇国际专利;
宋飞,主任医师:长庚医院临床主任医师,北京大学临床医学硕士,骨外科学博士,中国医师协会骨科分会,青年委员会,脊柱颈椎学组委员,参编著作《骨折手术学》、《解放军总医院创伤骨科手术 》,著有专利《智能关节康复锻炼系统》;
赵喆,主任医师:长庚医院临床主任医师,毕业于北京协和医院,师从中国人民解放军总医院骨科专科医院院长唐佩福教授,并从事创伤骨科的工作,著有《骨折手术学》、《中国人民解放军总医院创伤骨科手术》。
五、联系方式
E-mail:ott@tsinghua.edu.cn
成果编号:2022025
注:所有成果发布内容未经授权,请勿转载!
授权请联系yaoxiahan@tsinghua.edu.cn